實驗室噴霧干燥機產品說明:
適用于高校、研究所和食品醫藥化工企業實驗室生產微量顆粒粉末,對所有溶液如乳濁液、懸浮液具有適用性, 適用于對熱敏感性物的干燥如生物制品、生物農藥、酶制劑等。因為所噴出的物料只是在噴成霧狀時才受到高溫且是瞬間受熱,故這些活性材料在干燥后仍維持其活性成份不變。
多種領域:飲料、香料和色素、牛奶和蛋制品、植物和蔬菜提取液、制藥合成熱敏物質塑料、聚合物和樹脂、芳香劑、血制品、制陶和超導體生化制品、染料肥皂和洗滌劑、食品、黏合劑、氧化物、骨粉和牙粉等等。
更多噴霧干燥機和噴霧造粒機系列http://www.dfdp.cn/zh/list-0102.html
視頻安裝介紹:
實驗室噴霧干燥機主要特征:
●原裝自產噴頭,效率高。
●彩色大觸摸屏操作,全自動控制和手動控制相結合,中英文面板,參數液晶顯示。
●實時調控PID恒溫控制技術,控溫準確,加熱控溫精度±1℃。
●噴霧、烘干及收集裝置采用透明耐高溫高硼硅玻璃制造,整個噴霧干燥實驗進程可視。
●二流體噴霧的霧化結構,316不銹鋼材料制造,噴粉的顆徑呈正態分布,流動性好。
●射流器自動疏通(通針)且頻率可調,在噴嘴被堵塞時,會自動清除以確保實驗的連續性。
●進料量可通過進料蠕動泵調節。
●保護功能,風機不啟動,加熱器不能啟動。
●全無油空壓機,噪音小于50db。
●配備進風口過濾器,以確保樣品純凈。
●干燥后的產品,顆粒度均勻,95%以上的干粉在同一顆粒度
|
型號 |
OM-1500 |
OM-1500A |
|
|
機身材質 |
冷軋板噴塑 |
304不銹鋼(可定制316L) |
|
|
對應樣品 |
水溶性 |
腐蝕性溶液 |
|
|
性能 |
水分蒸發量 |
1500-2000mL/h(可定制)小進料量50ml |
|
|
溫度設定范圍(自控) |
30~300℃(入口溫度)\30~140℃(出口溫度) |
||
|
溫度調節精度 |
入口溫度±1℃ |
||
|
干燥空氣量調節范圍 |
0~0.7M3/min |
||
|
噴霧空氣壓力調節范圍 |
0~0.3MPa |
||
|
送液泵流量范圍 |
5-100prm(轉速可調) |
||
|
|
溫度 |
入口溫度、出口溫度輸出(4~20ma) |
|
|
廢氣過濾裝置 |
脈沖布袋除塵器(需選配) |
||
|
玻璃件 |
高硼硅玻璃材質,耐高溫、實驗無污染 |
||
|
溫度調節器 |
PID數碼溫度控制器 |
||
|
液晶觸摸屏 |
風機、加熱器、送液泵、通針噴射開關 |
||
|
溫度傳感器 |
PT-100 |
||
|
加熱器 |
4.5KW 220V |
||
|
進料方式 |
蠕動泵進料 |
||
|
噴霧用空壓機 |
進口空壓機 |
進口空壓機 |
|
|
吸引風扇 |
迂回路風機無刷DC馬達 |
||
|
進風口處理 |
過濾器(可配) |
||
|
噴嘴 |
標準配置1.0 可定制07/1.0/1.5/2.0/2.2等 |
||
|
噴霧用空氣連接口徑 |
外徑7mm |
||
|
噴霧用空氣壓 |
低音管0.3Mpa |
||
|
排氣連接口徑 |
50mm |
||
|
安全保護功能 |
入口、出口溫度過高、風機自動啟動,關閉機器總電源前溫度需降到50度左右,保護加熱器不受損壞。 |
||
|
規格 |
外形尺寸 |
550(W)X650(D)X1250(H)mm |
|
|
凈重 |
約110Kg |
||
|
電源 |
220V |
||
|
出廠標準配置 |
主機一臺,排風管一套,霧化室,旋風分離器,物料收集瓶,廢料收集瓶一套大卡箍,中號卡箍,2個小卡箍一套,說明書一份;保險絲2個,保修卡一套硅膠送液管1根、噴霧空氣管。 |
||
|
選配 |
基礎裝置 |
實驗室常規型 |
升級版不銹鋼型 |
|
定制款 |
本公司支持定制各類噴霧干燥機,實驗型,生產型,造粒型,有機溶劑防爆類等 |
||

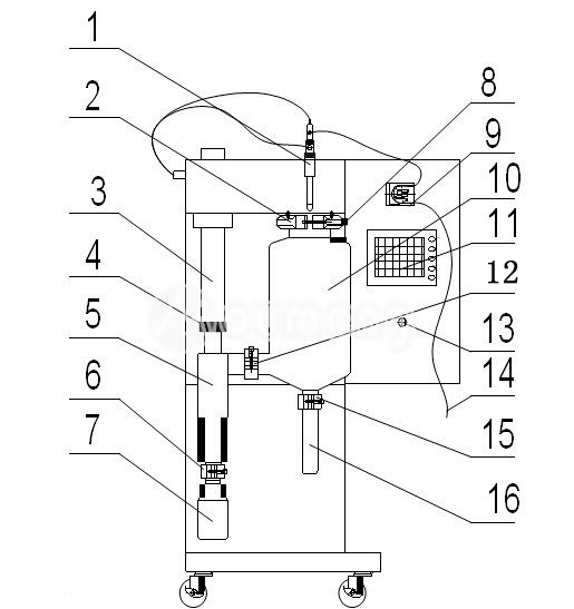
1、霧化器; 2、大卡箍; 3、尾氣管; 4、鎖緊螺母; 5、旋風分離器; 6、1 號卡箍;
7、收集瓶;8、大卡箍; 9、蠕動泵; 10、干燥室; 11、觸摸屏;12、2 號卡箍; 13、電源開關;
14、進料管; 15、3 號卡箍; 16、收集管